Tuesday, February 27, 2024

😃 Unlock the Power: 1996 Lumina Wiring Diagram Demystified

Discover the intricacies of the 1996 Lumina Wiring Diagram. Unravel the blueprint guiding Chevrolet's electrical system. Essential insights await.

In the annals of automotive engineering, 1996 Lumina Wiring Diagram stands as a crucial blueprint, a meticulous guide unraveling the intricate web of electrical connections within the Chevrolet Lumina, circa 1996. This article embarks on a journey into the heart of automotive electronics, dissecting the wiring diagram and schematic intricacies that govern the Lumina's electrical architecture.1996 Lumina Wiring Diagram enthusiasts and professionals alike delve into the arcane language of wires, circuits, and connectors, deciphering the blueprint that orchestrates the Lumina's electrical symphony. From the humblest fuse to the mightiest relay, every element plays a crucial role, harmonizing to power the Lumina's functionality. Join us as we illuminate the pathways of electrons and decode the enigmatic world of automotive wiring.

Unlock the Power: 1996 Lumina Wiring Diagram Demystified

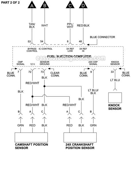
Understanding Wiring Diagrams and Schematics

Understanding Wiring Diagrams and Schematics

Wiring diagrams and schematics are the blueprints of electrical systems in vehicles, providing a visual representation of how components are connected and powered. These diagrams are essential for diagnosing and repairing electrical issues efficiently.

The Significance of a 1996 Lumina Wiring Diagram

The Significance of a 1996 Lumina Wiring Diagram

Specific to the 1996 Lumina, its wiring diagram holds immense importance for technicians and DIY enthusiasts. It serves as a roadmap to navigate the complex network of wires, ensuring proper functionality and troubleshooting.

Anatomy of a Wiring Diagram

Anatomy of a Wiring Diagram

A typical wiring diagram comprises symbols representing components such as switches, relays, connectors, and wires. These symbols are interconnected with lines indicating the flow of electricity, providing a comprehensive overview of the system.

Interpreting Symbols and Codes

Interpreting Symbols and Codes

Understanding the symbols and codes used in wiring diagrams is crucial. Each symbol represents a specific component or action, while color codes denote wire functions such as power, ground, and signal.

Diagnostic Applications

Diagnostic Applications

Wiring diagrams facilitate efficient diagnosis of electrical issues. By tracing circuits and identifying potential faults, technicians can pinpoint the root cause of problems and implement targeted solutions.

Precautions and Safety Measures

Precautions and Safety Measures

Working with electrical systems requires adherence to safety protocols. Before attempting any repairs or modifications based on wiring diagrams, ensure the vehicle's battery is disconnected to prevent electrical hazards.

Utilizing Wiring Diagrams for Modifications

Utilizing Wiring Diagrams for Modifications

Besides diagnostics and repairs, wiring diagrams are invaluable for vehicle modifications. Whether installing aftermarket components or customizing the electrical system, referencing the diagram ensures proper integration and functionality.

Accessibility and Resources

Accessibility and Resources

Fortunately, wiring diagrams for vehicles like the 1996 Lumina are readily available. They can be accessed through repair manuals, online databases, or obtained from manufacturers, empowering enthusiasts and professionals alike to conquer electrical challenges.

Conclusion:

As we conclude our exploration into the intricacies of the 1996 Lumina Wiring Diagram, we hope you've gained valuable insights into the fundamental aspects of automotive electrical systems. Whether you're a seasoned technician or an enthusiastic DIYer, understanding wiring diagrams is indispensable for maintaining and troubleshooting vehicles effectively. By unraveling the blueprint that governs the electrical architecture of the 1996 Lumina, you're equipped with the knowledge to navigate its intricate network of wires and components.

Remember, the 1996 Lumina Wiring Diagram serves as more than just a visual aid—it's a roadmap guiding you through the complexities of automotive electronics. Whether you're diagnosing issues, making modifications, or simply seeking a deeper understanding of your vehicle's inner workings, harnessing the power of wiring diagrams empowers you to tackle challenges with confidence. Stay tuned for more insightful articles delving into the world of automotive technology and maintenance.

Keyword:1996 Lumina Wiring Diagram

Related Keywords:Wiring Diagram, Electrical Systems, Automotive Technology, Vehicle Modifications, 1996 Lumina


No comments:

Post a Comment